CLUB des UTILISATEURS du JAO SYSTEME

 

ALIMENTATION pour JAO

Article paru dans le bulletin n° 2 de décembre 1996

 

par Jean-Baptiste MIHALEVICH

Le système JAO est un ensemble électronique destiné à faire fonctionner des réseaux de trains électriques. Pour cela, il faut un micro ordinateur, des cartes JAO, des cartes aiguilles, des cartes canton, et pour toute cette partie électronique, une alimentation à plusieurs tensions.

Cet article va expliquer les termes employés et ce dont le système JAO a besoin pour un bon fonctionnement du réseau ainsi que la réalisation de cette alimentation.

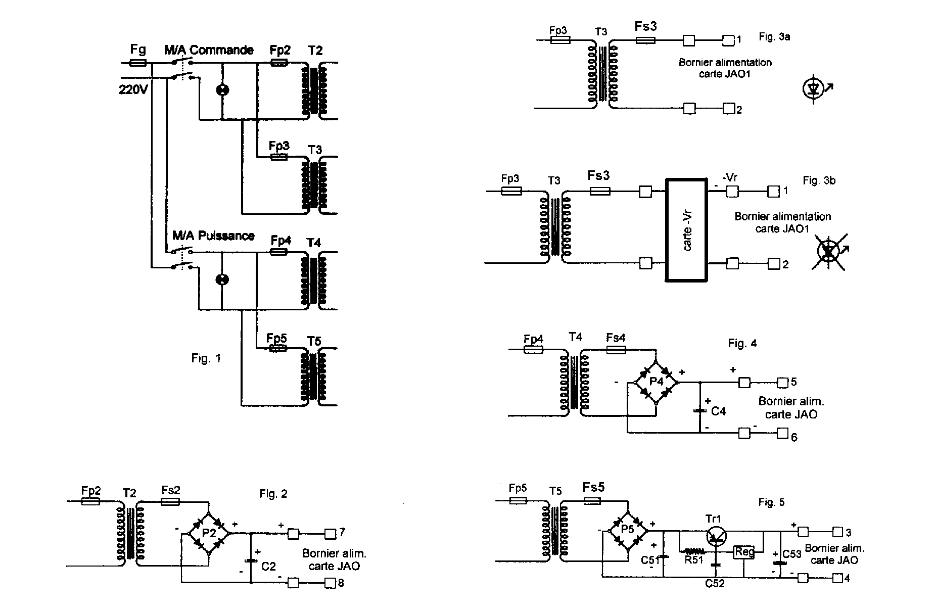
L’alimentation doit avoir 4 tensions :

1. Cartes : tension pour alimenter toute l’électronique des cartes (JAO1, JAO2, cantons, aiguilles).

2. AC (-Vr) tension de référence nécessaire aux cartes cantons afin de mettre en forme la tension pour le déplacement des machines.

  1. Aiguille : tension qui va activer les aiguilles (aiguillages) à travers les cartes aiguilles.

4. Traction : tension qui va faire fonctionner les machines par l’intermédiaire des cartes cantons.

Réalisation pratique

Il est conseillé de monter un transformateur par tension afin de ne pas avoir d’interférence entre tensions.

La mise sous tension de cette alimentation se fait en deux temps pour éviter de faire "claquer" les aiguilles (bruit), déplacer les machines à la mise sous tension ainsi qu’à l’arrêt de l’alimentation.

Il y aura deux circuits distincts (figure 1).

Circuit 1 : commande, tension cartes et -Vr.

Circuit 2 : puissance, tension traction et tension aiguilles.

La tension cartes (fonctionnement de l’électronique) doit être comprise entre 8V et 12V continu (VDC), redressée et filtrée (figure 2).

La tension aiguilles peut être comprise entre 14V et 16V continu (VDC) redressée et filtrée (figure 4).

La tension traction doit être régulée à 15V continu (VDC) pour avoir, après passage dans la carte canton, 12V dans la voie à vitesse maximum, tension redressée, filtrée et régulée (figure 5).

La tension AC (-Vr) ne doit être connectée que sur la carte

JAO1, soit directement pour la version JAO1 avec LED verte

(fig. 3a), soit via un circuit intermédiaire pour les cartes

JAO1 sans LED verte (ancienne version) (fig. 3b).

Les autres tensions peuvent être connectées de l’alimentation vers la carte JAO1 et chaque carte JAO2 pour éviter les pertes dans les cartes et les liaisons (figure 6).

Chaque tension doit être câblée avec ses deux fils de 0,75 à 1mm2 ; la partie secondaire des transformateurs de puissance : redressements, filtrages et régulations doit être câblée en 2,5mm2.

La sortie "traction" est régulée à 15 VDC pour les convois :

- pour environ 5 à 10 convois à plein régime suivant la consommation de chacun.

 

La sortie "aiguilles" délivre du 14/16 VDC pour alimenter :

- Les aiguilles du type Jouef, Roco, Tortoise, etc. sauf les aiguilles Peco ou similaires (de tension et courant beaucoup plus importants). Pour ce cas spécifique, le courant de cette sortie est différent et fait appel à une autre version d’alimentation.

La tension "carte" délivre du 9/11 VDC pour alimenter :

- Les cartes électroniques : quatre à cinq cartes JAO. Une JAO1 + trois à quatre JAO2.

 

Jean-Baptiste MIHALEVICH

Liste des composants

Transformateurs:

T2 : 220 / 9 Vac 65 VA

T3 : 220 / 12 Vac 10 VA
T4 : 220
/ 12 Vac 150 VA

T5 : 220 / 15Vac ou 220 / 18Vac 150VA
Fusibles

Fg : 3,15A
Fp2 : 500 mA Fs2 : 6A
Fp3 : 50 mA Fs3 : 250 mA
Fp4 : 1,25 A Fs4 : 10 A

Fp5 : 1,25 A Fs5 : 8 A

Ponts redresseurs :

P2 :10 A P4 et P5 : 20 A

Condensateurs :

C2 : 2 200 µF 25 V (jusqu’à 4 cartes JAO)
C2 : 4 700 µF 25V (à partir de 5 cartes JAO)

C4 et C51:10 000 µF 40/63V
C53 : 470 µF 40/63V

C52 : 220 nf 100 V non polarisé
(µF : microfarad ; nF : nanofarad ; les condensateurs cités sont très courants)

Divers :

R51 : résistance 33 ohms 1 w

TR1 : transistor BDX18, 2N3792 ou 2N5879 (PNP 15 A) sur radiateur 80 x 50 mm minimum.
Reg. : régulateur 7815 1 A monté sur radiateur.

2 interrupteurs bipolaires, 2 voyants 220 V.

Note : toutes les références des composants et éléments sont propres à cet article.

CLUB des UTILISATEURS du JAO SYSTEME

ALIMENTATION pour JAO

Sommaire des articles parus au Bulletin du Club

 

Article paru dans le bulletin n° 2 de décembre 1996
MAJ le 16 mars 2001 par Jean Pierre Tharan et Yves Brochard